View all news

ORTH.CN: OrthoRTI & Hanuman Partner on Buoy-Based PRP Prep

01/07/2021

By John Vandermosten, CFA

CNSX:ORTH.CN | OTC:ORTIF

READ THE FULL ORTH.CN RESEARCH REPORT

Ortho Regenerative Technologies (CNSX:ORTH) (OTC:ORTIF) announced on January 5, 2021 it had entered into an agreement with Hanuman Pelican, Inc. providing Ortho global rights (excluding Japan) to commercialize Hanuman’s Buoy Suspension Fractional System as a part of a turnkey offering for Ortho-R. The deal also provides Ortho rights to use the buoy system for all US clinical sites participating in Ortho-R Phase I/II trials for rotator cuff tear (RCT) repair. Ortho-R is a proprietary chitosan-based biopolymer powder that is suspended in autologous platelet-rich plasma (PRP) that is currently being investigated for its ability to facilitate healing and tissue regeneration in orthopedic applications.

The agreement specifically grants Ortho license to use, manufacture, sublicense and sell Hanuman’s buoy system in fields including tendons, ligaments, meniscus, cartilage and wound healing (1). Hanuman has also agreed to supply its system as the exclusive platelet-concentration system to each of the sites participating in Ortho’s clinical trial. As a part of the agreement, Ortho will pay royalties on net sales of the Ortho-R package attributable to the Hanuman system.

PRP

The autologous platelet-rich plasma is sourced from the patients’ own blood. The process to prepare patient PRP for subsequent mixture and application of Ortho-R begins with a 50 mL blood draw. Once the patient blood is collected, the PRP can be isolated using a system such as Hanuman’s Buoy Suspension Fractional System.

When centrifuged, blood components, including the platelet rich portion, will separate into fractions. There are multiple ways to implement a centrifuge for separating blood and protocols differ on the time and intensity of centrifugation.

Exhibit I – Production of PRP via Centrifugation (2)

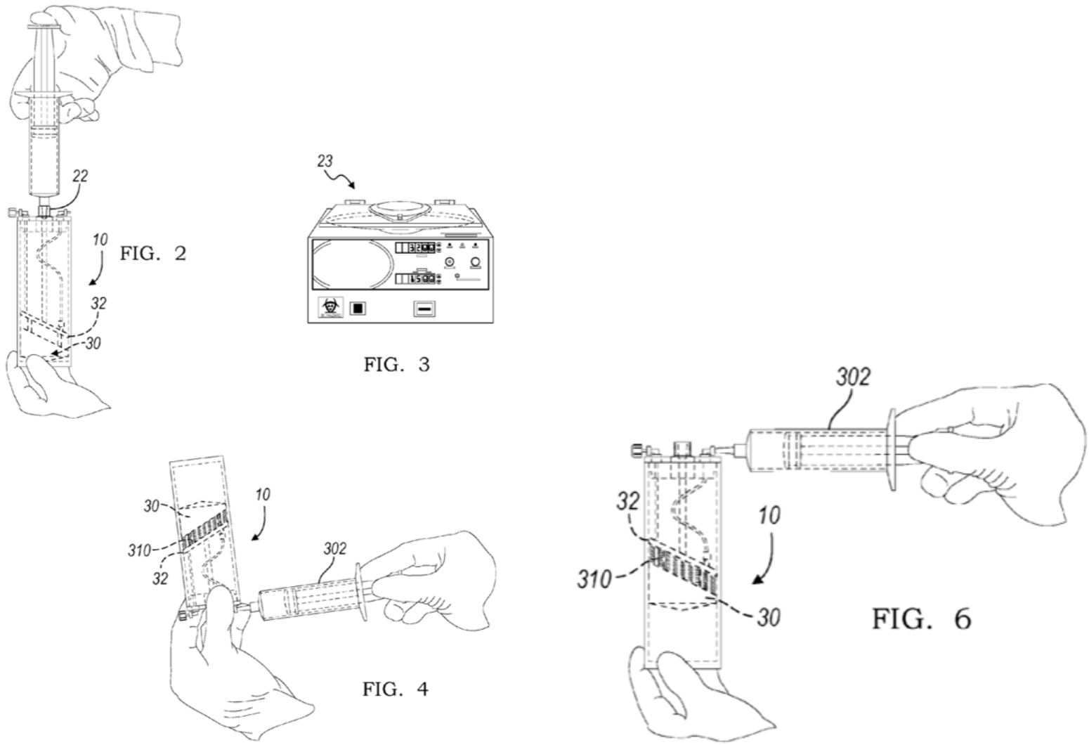
Using a system like Hanuman’s proprietary buoy system greatly facilitates the separation and collection of the platelet rich fraction. The procedure to use the buoy system is to inject the patient’s blood into the device via port 22 pictured below. The device is then placed into a special centrifuge where it is spun for 8-12 minutes, separating the blood into three fractions. The topmost fraction is removed and discarded as seen in figure 4, allowing the PRP, located in 310, to be collected via syringe in the final step depicted in figure 6. The PRP collected is now ready to be mixed with powdered Ortho-R and applied to the rotator cuff tear area where it will clot and stay in place, facilitating the healing process over months. The process of mixing, application and clotting takes only minutes, after which the surgical site can be closed. The implant need only partially clot before the surgical procedure is completed. For more details on Ortho-R, PRP, pre-clinical data on Ortho-R’s efficacy and other components of our thesis, see our initiation.

Exhibit II – Collection of PRP via Hanuman Buoy Suspension Fractional System (3)

Ortho-R

Ortho-R is derived from Ortho RTI’s RESTORE technology. The product While the company has highlighted other designations of Ortho-R that are intended for use in different sites, they are composed of the same proprietary biopolymer derived from chitosan. Ortho RTI’s candidate can be applied to various common tear-injuries in the body such as those in the rotator cuff, meniscus, cartilage and joints affected by osteoarthritis. The product is a powder containing lyophilized chitosan, a lyoprotectant and clot activator. This powder is then mixed with a wet biologic, which is the patient’s own PRP, which causes it to coagulate. The combination is shaken and the mixture applied by the surgeon on and around the repaired site. Within minutes, the implant assumes a thickened consistency and the surgeon can complete the operation.

The process of mixing and applying Ortho-R takes only minutes, does not interrupt surgery and has been shown effective in tissue repair in vivo. Surgery repairs damaged tissue, using sutures, anchors and/ or staples. In the case of a rotator cuff tear, when the two halves of the tear are brought together by mechanical means, the body must complete the healing process by bridging the gap. RESTORE leverages biology to improve the healing process by combining a biocompatible polymer matrix with a regenerative factor to enhance healing.

Summary

Ortho RTI has developed a chitosan-based biopolymer near ready to enter the clinic. If trials are successful, it will address an unmet need in rotator cuff tear and meniscus tear (MT) repair. Ortho has elected to refine the parameters of Ortho-R by specifying the device with which autologous PRP is collected. With Hanuman’s PRP collection system, Ortho is able to offer a turnkey solution for the implementation of its lead candidate, Ortho-R, with revenue opportunities from the device. With recent fundraising successes and progress with the FDA, we anticipate a relatively rapid development process as Ortho advances from pilot to pivotal trials, regulatory authority approval and first sales by 2025 in the United States.

SUBSCRIBE TO ZACKS SMALL CAP RESEARCH to receive our articles and reports emailed directly to you each morning. Please visit our website for additional information on Zacks SCR. 

DISCLOSURE: Zacks SCR has received compensation from the issuer directly, from an investment manager, or from an investor relations consulting firm, engaged by the issuer, for providing research coverage for a period of no less than one year. Research articles, as seen here, are part of the service Zacks provides and Zacks receives quarterly payments totaling a maximum fee of $40,000 annually for these services. Full Disclaimer HERE.

________________________

1. Wound healing field is non-exclusive

2. Piao, Linfeng & Park, Hyungmin & Jo, Chris. (2017). Theoretical prediction and validation of cell recovery rates in preparing platelet-rich plasma through a centrifugation. PLOS ONE. 12. e0187509. 10.1371/journal.pone.0187509.

3. US Patent No. 9,649,579 B2 / uspto.gov

Multimedia Files:

Categories: Press Releases
View all news